Пермские ученые изобрели устройство для улучшения техники бега. Оно учит правильно держать руки
Ученые Пермского национального исследовательского политехнического университета (ПНИПУ) разработали устройство, которое формирует мышечную память и приучает спортсменов держать руки в правильном положении, сообщает ТАСС. На разработку уже получен патент.
Исследователи считают, что движения рук при беге помогают развитию скорости спортсмена и играют не меньшую роль, чем ноги. Верхние конечности определяют амплитуду движений маховой и толчковой ноги. Если спортсмен отводит локти в стороны, он может потерять скорость из-за рассогласованности движений рук и ног.
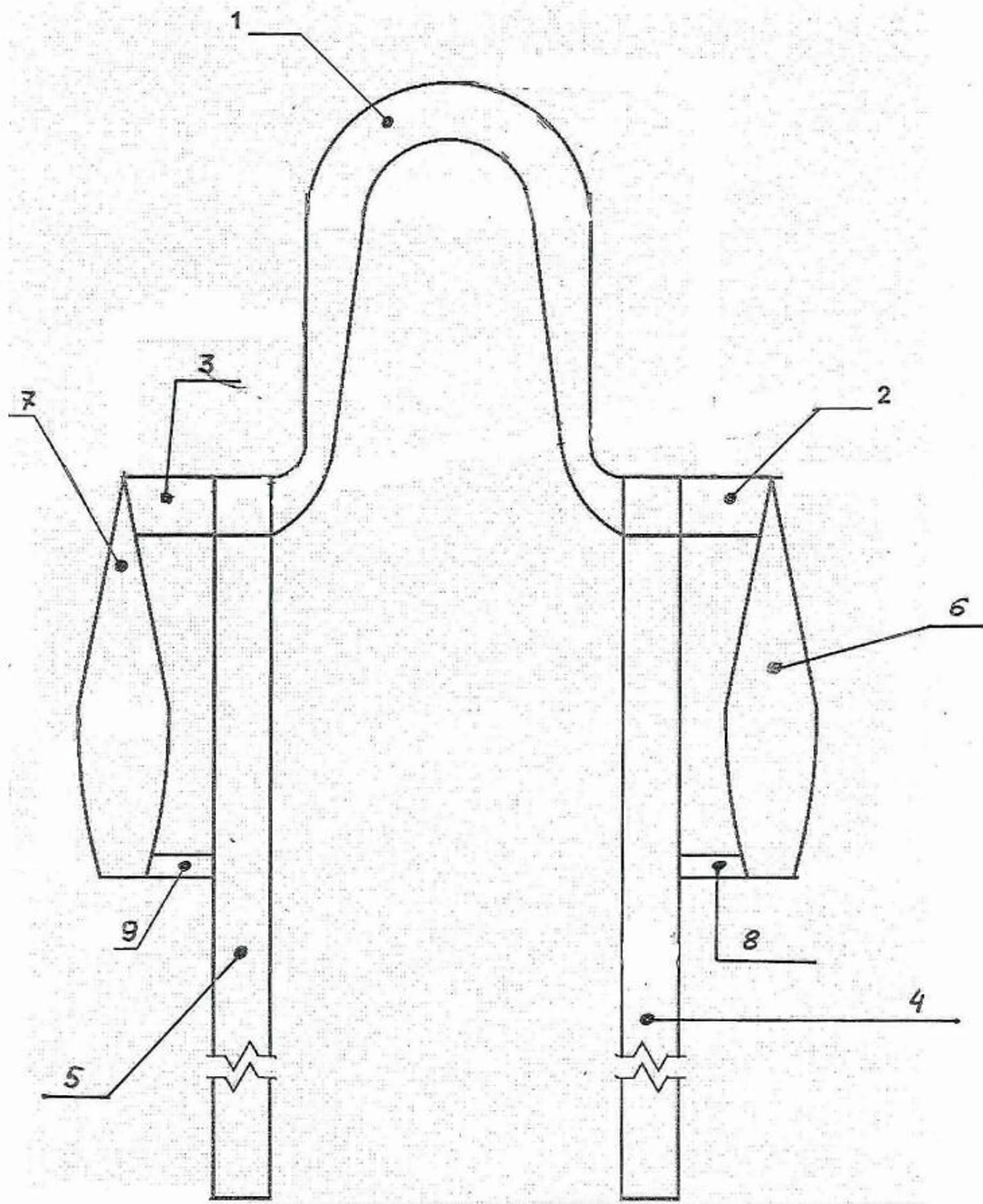
Чтобы этого не происходило, ученые разработали устройство, призванное контролировать положение рук атлета. Согласно патенту, конструкция состоит из тонкой пластиковой дуги над головой спортсмена, нижние части которой опираются на его плечи. Вертикальное положение туловища фиксируется с помощью реек, закрепленных также на плечах в местах опорах дуги. Высота реек соответствует расстоянию от плеча спортсмена до беговой дорожки. На концах дуги расположены расширяющиеся к низу площадки, которые ограничивают пространство для движения локтей. Эти площадки могут быть зафиксированы на поясе бегуна с помощью шнуровки.

По словам Валерия Паначева, профессора кафедры физической культуры ПНИПУ, маховые движения вперед-назад совершаются спортсменом только в ограниченном площадками пространстве. Это позволяет не отводить локти в сторону и оптимизировать величину угла между локтем и туловищем. Таким образом формируется мышечная память, и спортсмен совершенствует свою технику бега.